Medição de umidade com display de temperatura e controle de fluxo de material
Sensor de micro-ondas para medição contínua de umidade em sólidos secos, com detecção de vazão e medição de temperatura de processo
Instalação em correias transportadoras, roscas transportadoras e em contêineres. Duas tecnologias de sensores estão disponíveis para cobrir uma ampla gama de aplicações.
- altamente resistente ao desgaste
- medição integrada de temperatura
- Detecção de movimento de materiais
Medição precisa e em tempo real de todos os tipos de pós, pós, grânulos e outros materiais a granel.
- Recursos e benefícios
- Principais aplicações
- Especificações Técnicas
- Dados Técnicos
- Instalação de montagem
- Transferências
- A humidade varia de 0 a 65% (dependendo do material)
- Precisão de medição 0,1%
- Medição de humidade on-line
- Medição instantânea e precisa da temperatura do processo/material de 0 °C a 120 °C
- Alarme de deteção de fluxo
- Independentemente da cor do material
- Resistente a temperaturas até 120 °C
- Registo de humidade superficial e humidade capilar
- Certificado ATEX
- Cimento
- Química
- Asfalto
- Alimentação
- Vidro
- Grãos
- Limão
- Minerais
- Aço
- Madeira
- Fundição
- Materiais de construção
- Biomassa
- Reciclagem
- Materiais de construção
- Central de energia
| Especificações Técnicas | |
|---|---|
| Material a medir | Poeira, pó, granulados e outros sólidos a granel |
| Local para medir | Transportador helicoidal, transportador de correia, recipiente, corrediça, secador, misturador |
| Princípio de funcionamento | Micro-ondas |
| Intervalo de humidade | 0 a 65% (dependendo da aplicação) |
| Temperatura do material | Máx. 120°C |
| Medição de temperatura | Incluído |
| Montagem | Flange |
| Classificação ATEX | Categoria 1 |
| Output | 4…20mA, Modbus, Profibus |
| Deteção de fluxo | Incluído |
- Intervalos de humidade: 0 – 65% (dependendo do material)
- Precisão da medição: 0,1%
- Resistente à temperatura: até 120°
- ATEX – certificado
- Materiais: todos os tipos de poeiras, pó, granulados e outros sólidos a granel
- Possíveis diferentes posições de montagem
| Dados técnicos do sensor | |
|---|---|
| Habitação | Aço inoxidável 1.4571 |
| Superfície do sensor | Cerâmica |
| Protecção Ex (opcional) | Zona 20 (Poeira), Zona 0 (Gás) |
| Categoria de proteção | IP 67 de acordo com a EN 60529 |
| Temperatura ambiente do material | 0 … +80 °C, opcional 120 °C |
| Pressão de trabalho | Máx. 10 barras |
| Consumo de energia | 0,6 W |
| Tempo de resposta | 0,1 seg |
| Peso | Aprox. 1000g |
| Intervalo de medição | 0 … 65% de humidade residual (dependendo do material) |
| Medição de temperatura | 0 … +120 °C ± 0,6 °C (típico) entre. 0 e +120°C ± 1 °C (Máx.) entre. 0 e +70°C ± 2 °C (Máx.) entre. 0 e +120 °C |
| Alarme de deteção de fluxo | SIM |
| Precisão | 0,1% absolutamente na gama de medição calibrada |
| Cabo de ligação | cabo blindado de 4 fios, 0,25 mm2 |
| Dados técnicos do transmissor | ||||
|---|---|---|---|---|
| Transmissor (carril DIN) | Transmissor (alojamento de campo) | |||
| Fonte de alimentação | 24 V CC ±10% | 110/230 V AC 50 Hz (opcional 24 V CC) |
||
| Consumo de energia | 20 W/24 VA | |||
| Tipo de proteção | IP 40 a EN 60 529 | IP 65 a EN 60 52 910.91 | ||
| Temperatura ambiente de funcionamento | -10… +45 °C | |||
| Dimensões (L x A x P) | 23 x 110 x 121 mm | 258 x 237 x 174 mm | ||
| Peso | Aprox. 190g | Aprox. 2,5 kg | ||
| Fixação em calha DIN | DIN 60715 TH35 | / | ||
| Interface | ModBus RTU (RS 485) / USB | RS 485 (ModBus RTU) / USB | ||
| Conectores de parafuso de cabo | / | 3 x M20 (4,5 – 13 mm Ø) | ||
| Cabo de terminais de ligação secção transversal |
0,2-2,5 mm2 [AWG 24-14] | |||
| Saída actual | 2 x 4 … 20 mA (0 … 20 mA), carga < 500Ω | 3 x 4 … 20 mA (0 … 20 mA), carga < 500Ω | ||
| Saída de pulso | Coletor aberto – máx. 30 V, 20 mA | |||
| Retransmitir contacto | Máx. carga nominal: 250 V CA Máx. corrente de pico: 6 A Máx. carga nominal 230 V CA: 250 VA Máx. capacidade de interrupção DC1: 3/110/220 V: 3/0,35/0,2 A Min. carga de comutação: 500 mW (10 V / 5 mA) |
|||
| Backup de dados | Memória Flash | |||
O M-Sens 3 foi desenvolvido para oferecer a máxima flexibilidade durante a montagem. Os seguintes aspetos devem ser tidos em conta no posicionamento da sonda: O campo de medição penetra nos materiais mais densos (por exemplo, areia). Com uma profundidade mínima de 120 mm, a sonda deve estar sempre direcionada para o material para evitar problemas de reflexão.
Situações de instalação
Contentor
Para uma instalação simples, está disponível um flange de ligação padrão.
Correia transportadora
Medição da humidade do material numa correia transportadora. Uma altura constante do material é gerada pela fixação de um skimmer de material. Isto oferece condições ideais para uma medição online.
A instalação no terço inferior de uma rosca transportadora tem a vantagem de o volume de material que passa pelo sensor ser quase constante, permitindo uma medição ideal. O movimento das hélices do sem-fim está oculto.
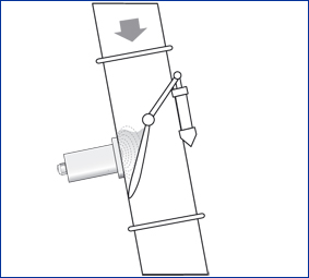
Tubo de queda livre
Para poder medir em tubos de queda livre ou tubos inclinados (calhas) com o M-Sens 3, é possível recolher material à frente da sonda a curto prazo, durante a medição, com um mecanismo de captura. Após a medição, a patilha voltará a abrir e permitirá que o material recolhido continue a cair. O processo de medição pode ser repetido permanentemente em intervalos curtos ou longos, de acordo com os requisitos.








